Package Include
Komatsu PC5500-6 Electric Drive Excavator Service Repair Manual
Language
English
Format
PDF
Total Number of pages
658
Publication Number
15028
Compatible
All windows and mac systems
Additional Requirement
User needs to Install PDF Reader Software
Shipping Policy
Download link by high speed web server Total Download size 23 mb
Compatible ModeL : Komatsu PC5500-6 Electric Drive Excavator
Compatible Serial Number : [S.N 15050 and up]
This is true Electronic pdf Manual with contains high quality images and diagrams, not scanned version
The Komatsu PC5500-6 Electric Drive Excavator Service Repair Manual is an essential resource for maintenance professionals and operators alike. This comprehensive guide provides detailed instructions, schematics, and troubleshooting tips to ensure optimal performance and longevity of your excavator. With clear illustrations and step-by-step procedures, you can confidently tackle repairs and service tasks, minimizing downtime and maximizing productivity. Invest in this manual to enhance your operational efficiency and keep your equipment running smoothly
Contents of this pdf Service Manual
Safety – Foreword
Technical DATA (Leaflet)
Assembly PROCEDURE (Brochure)
Section (Each section includes a detailed table of content)
Main assembly groups
Drive
Hydraulic oil tank
Hydraulic oil cooling
Controlling
Components
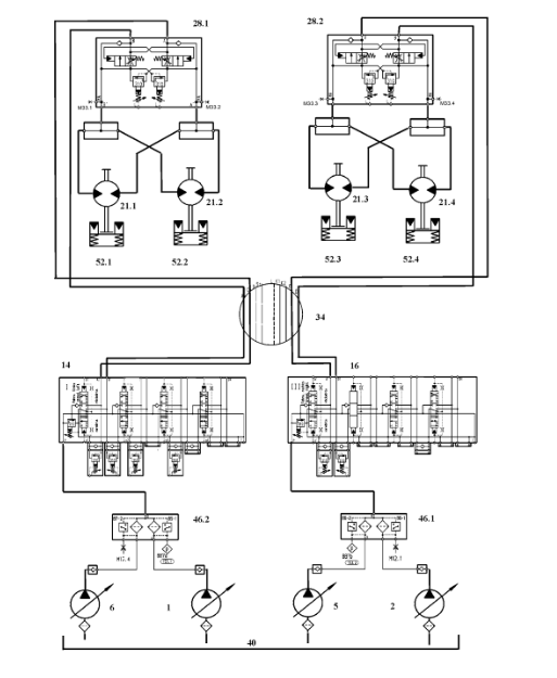
Main hydraulic pumps and pump regulation.
Operating hydraulic.
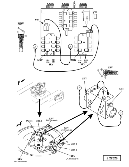
Hydraulic track tensioning system.
Hydraulic operated access ladder
Cable weel
Hints for the hydraulic circuit diagram
Hints for the electric circuit diagram
ECS-T
Lubrication Systems






